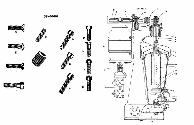
Which of the figures in illustration GS-0080 would be used in conjunction with figure "B" of the device shown in illustration GS-0124? Illustrations GS-0080 and GS-0124
• Carefully compare the shape of the screw head at item "B" in illustration GS-0124 with the various fasteners in GS-0080. • Notice whether the screw at "B" is countersunk, has a hex head, or is a recessed (socket) head and how it sits against the surface it clamps. • Think about what type of fastener would normally be used where a removable cover or flange is bolted on, as shown near "B".
• Does the screw at "B" sit flush with the surface or does the head stand proud? That will immediately eliminate some choices. • Look closely at the profile of the head and the presence or absence of a washer or shoulder at "B"; which figure in GS‑0080 has a matching profile? • If you had to choose a tool to turn the fastener at "B" (screwdriver vs. wrench vs. Allen key), which GS‑0080 figure would match that tool type?
• Verify whether the head at "B" is flat/countersunk, round, or hexagonal when viewed in section. • Confirm whether the fastener at "B" appears to use a machine screw with a separate nut or a bolt threaded into the housing. • Before selecting a letter, double‑check that both the head shape and the shank/threads length of your choice match what is drawn at "B" in GS‑0124.
No comments yet
Be the first to share your thoughts!