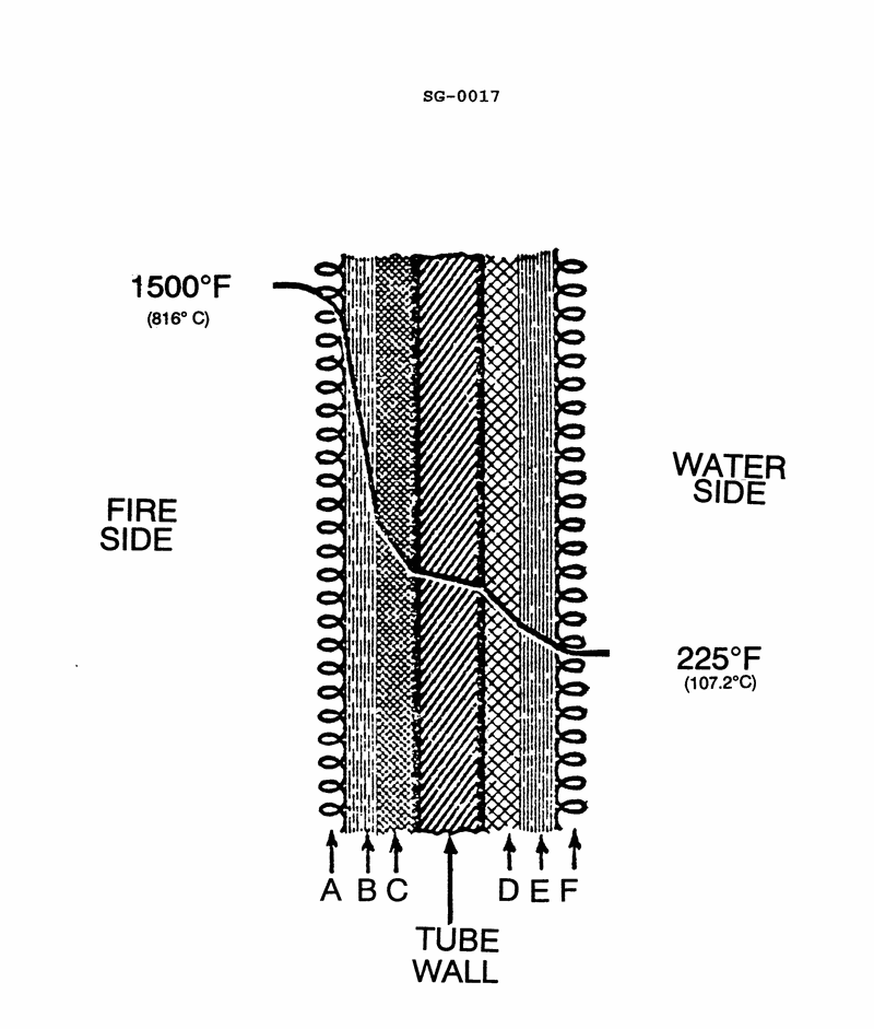
Which area shown in the illustration will offer the most resistance to heat transfer from the fireside to the waterside of a boiler tube? Illustration SG-0017
• Heat transfer in boiler tubes – conduction through metal vs. insulation/scale vs. fluid films • Effect of scale or soot deposits on thermal resistance • Relationship between temperature drop and where the ‘bottleneck’ to heat flow is located
• Look at how the temperature line changes slope from the fireside to waterside. Where is the biggest temperature drop over the shortest distance? • Which labeled region represents a poor heat conductor (insulating layer or stagnant film) rather than the steel tube wall or moving water? • Think about maintenance: what kind of deposit do engineers worry about most because it drastically reduces heat transfer?
• Identify which letters correspond to metal tube wall, fireside deposits/film, and waterside deposits/film in the sketch before choosing. • Verify in your heat-transfer notes which material (metal, gas, water, scale/insulation) has the highest thermal resistance (lowest conductivity). • Make sure the area you pick matches the steepest portion of the temperature gradient in the illustration, showing where most of the temperature drop occurs.
No comments yet
Be the first to share your thoughts!