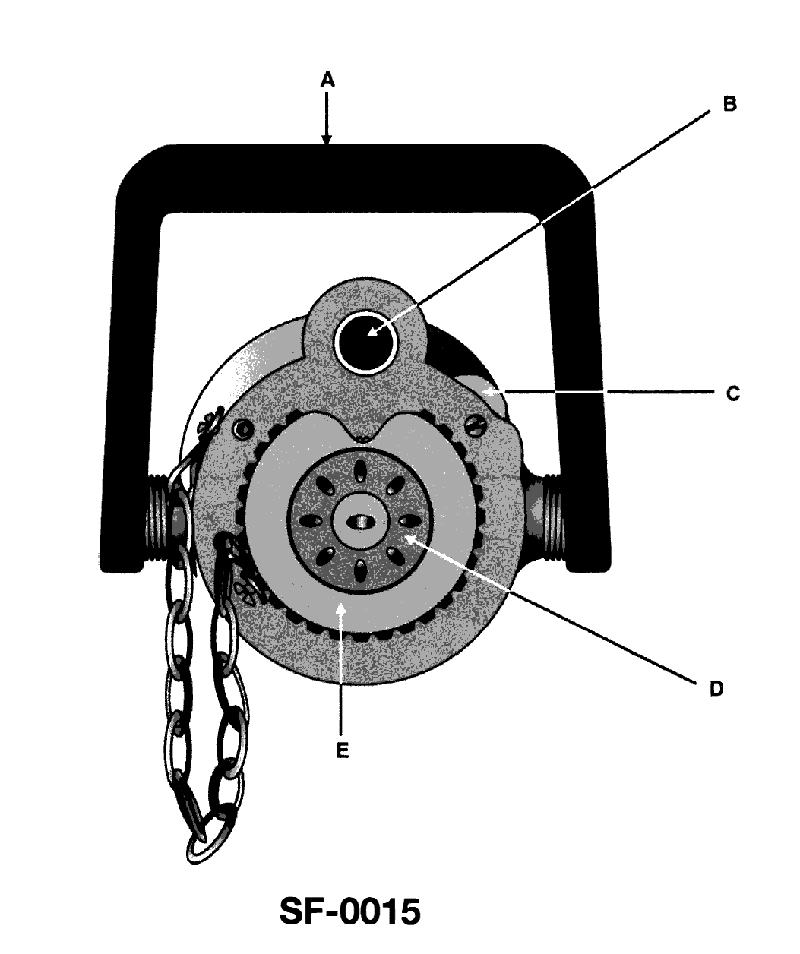
When the handle "A" is in the mid-position of the combination nozzle shown in the illustration, which of the following statements will be correct? See illustration SF-0015.
• How a combination nozzle changes patterns (solid stream, high-velocity fog, low-velocity fog, or shut-off) as the handle is moved through its positions • The relationship between the handle position (A) and which internal passage is lined up with the outlet ports labeled B, D, and E • The typical use of outer ring holes vs. a central orifice on fire nozzles for fog versus solid-stream patterns
• Look at the mid-position of handle A: would a nozzle normally be fully closed in the middle of its travel, or would it normally give one of the spray patterns there? • Compare what type of stream you’d expect from the outer ring of small holes (D) versus the single center opening (B/E)—which is more likely to create fog, and which a solid stream? • Think about the difference between high-velocity and low-velocity fog: which pattern needs more restriction and smaller openings, and which would use larger or more numerous openings?
• Identify whether D is the ring of multiple small holes or the single center opening—this tells you if it’s suited to fog or solid stream. • Decide if a mid-position on a combination nozzle is more likely to be a fog pattern, a solid stream, or a shut-off position based on how such nozzles are normally designed. • Confirm whether a solid stream would realistically emerge from the area labeled B by considering its size and location compared with standard nozzle designs.
No comments yet
Be the first to share your thoughts!