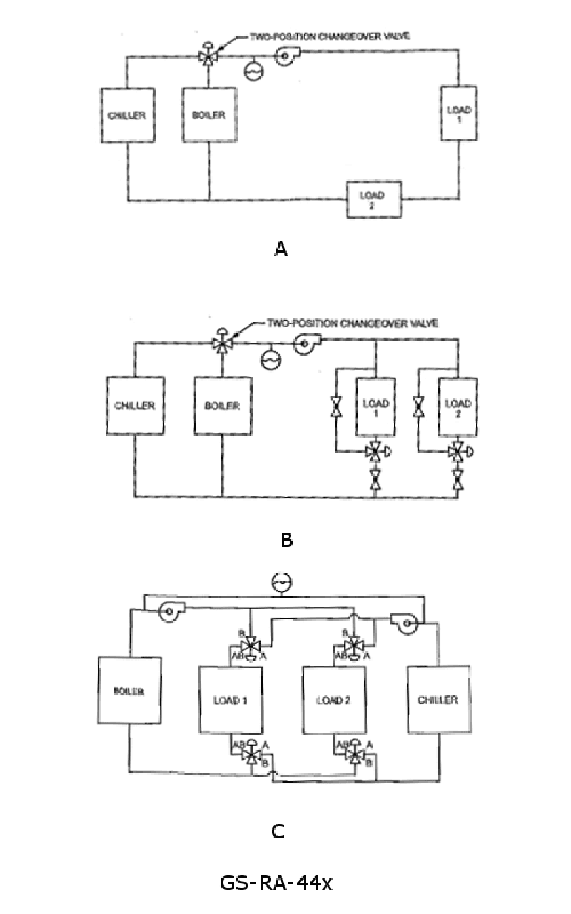
What statement is true concerning figure "C" of the illustrated hydronic heating/cooling systems? See illustration GS-RA-44.
• Carefully trace the piping arrangement in figure C and compare it with figures A and B. • Note the difference between series flow through loads versus parallel branches from supply and return mains. • Consider whether the boiler and chiller are arranged so that both can circulate water at the same time in figure C.
• In figure C, does the water have to pass through Load 1 before it reaches Load 2, or does each load connect directly to the main supply and return lines? How would that affect the temperature of the water entering each load? • Look at how the boiler and chiller are tied into the loop in figure C. Is there anything in the piping that would prevent hot and chilled water systems from being operated together? • Which statements (B or C) would be more typical of a system where loads are in strict series, and which would be less true for loads piped in parallel?
• Verify which way flow actually goes through the distribution piping and loads in figure C. • Check whether each terminal unit sees the same supply temperature or a temperature changed by previous loads. • Confirm if there is any valve or piping feature in figure C that forces you to choose either heating or cooling, rather than allowing both.
No comments yet
Be the first to share your thoughts!