What is the purpose of the device shown in...
Question 1 of 27070
Q
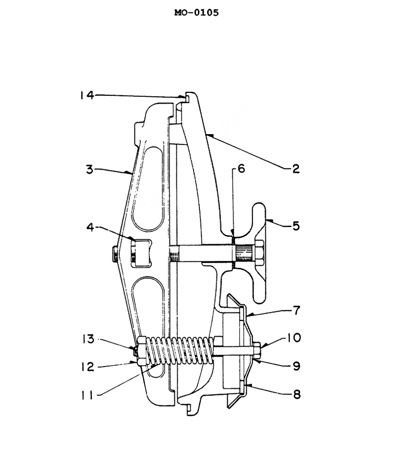
What is the purpose of the device shown in the illustration? See illustration MO-0105.
A
Regulate lube oil pressure in a diesel engine.
B
Protect the crankcase from overpressure in the event of explosion.
C
Utilize exhaust gas pressure to supercharge a diesel engine.
D
Secure the engine in the event of dangerous over speed.
Question 1 / 27070
5eccefa1bacbc34ba4d47472
Question 1 of 27070
5eccefa1bacbc34ba4d47472
What is the purpose of the device shown in the illustration? See illustration MO-0105.
Show Hint
Show Illustration
Chat with Navigator AI
A
Regulate lube oil pressure in a diesel engine.
B
Protect the crankcase from overpressure in the event of explosion.
C
Utilize exhaust gas pressure to supercharge a diesel engine.
D
Secure the engine in the event of dangerous over speed.
Discussion
(0)
Show More
Back
Back
Back
Question 1 of 27070
5eccefa1bacbc34ba4d47472
Q
What is the purpose of the device shown in the illustration? See illustration MO-0105.
A
Regulate lube oil pressure in a diesel engine.
B
Protect the crankcase from overpressure in the event of explosion.
C
Utilize exhaust gas pressure to supercharge a diesel engine.
D
Secure the engine in the event of dangerous over speed.
Back
Next
Discussion