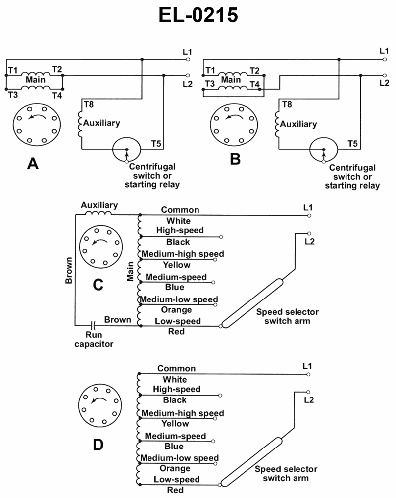
What are the operational characteristics of the shaded pole motor shown in figure "D" of the illustration? See illustration EL-0215.
• Shaded pole motor characteristics (starting winding, reversibility, and torque) • Difference between multi-speed taps and multi-voltage connections on stator windings • How a speed selector switch is drawn when it is set to one particular tap
• Look at figure D and count how many separate windings you actually have, and how they are connected to L1 and L2. Does this look like a single-voltage or a dual-voltage connection? • Trace the speed selector arm in figure D. Which color lead is it touching, and what speed label is on that tap? • Ask yourself: do you see any way to reverse the rotation in this diagram (such as swapping leads, reversing an auxiliary winding, or a separate reversing switch), or is the direction fixed?
• Verify whether the various colored leads in figure D are labeled with different speeds or different voltages. • Confirm which tap the selector arm is actually connected to; note the associated speed label. • Check if there are any extra terminals or switches that would allow reversal of rotation; if none are shown, assume the direction is fixed.
No comments yet
Be the first to share your thoughts!