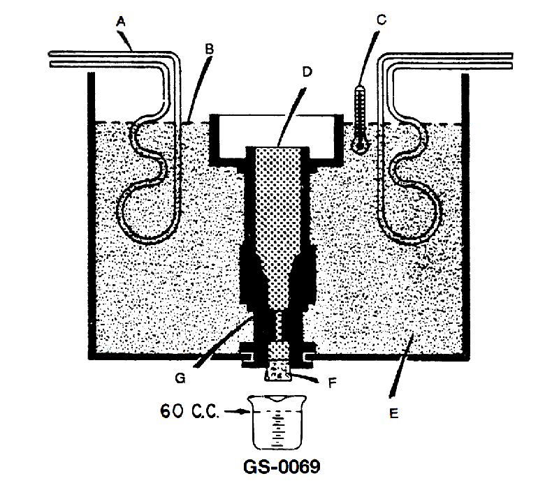
The illustrated device is used to __________. See illustration GS-0069.
• Viscosity tests for fuel and lube oils and how flow time through an orifice is used • Difference between gravity flow and flow caused by applied pressure in test equipment • How a heated oil bath and thermometer are used to keep a test sample at a constant temperature
• Look at the central vertical chamber and bottom opening: does the arrangement suggest the oil is being pushed by pressure, or simply allowed to drain by its own weight? • Why is there a 60 c.c. mark on the beaker, and why is the sample surrounded by a heated bath with a thermometer—what property of the oil needs both a fixed temperature and a timed flow? • Compare the diagram with what you would expect for a device that measures flash point or vapor pressure—do you see any place where vapors are contained and ignited or pressurized?
• Identify whether any pressure source (piston, pump, or compressed air line) is shown acting on the oil sample in the diagram • Confirm that the thermometer is in the surrounding bath, indicating control of temperature during the flow test • Note that the time to collect a fixed volume (60 c.c.) of oil is the key measured variable, and match that to the choice that uses time as the indicator of the property being tested
No comments yet
Be the first to share your thoughts!