The illustrated device is in operation when...
Question 1 of 27070
Q
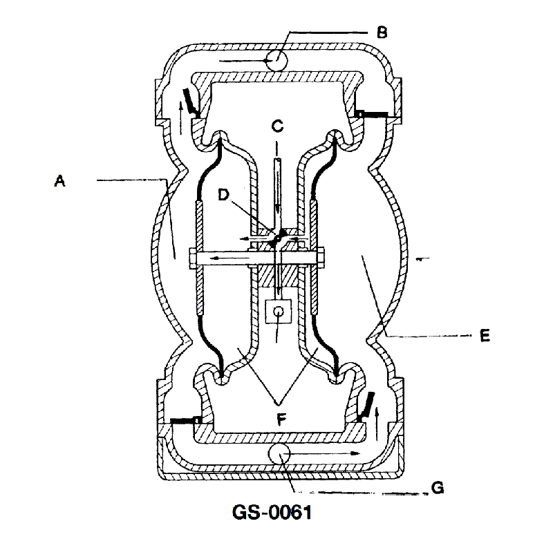
The illustrated device is in operation when __________. See illustration GS-0061.
A
the output at "B" is providing negative feedback of the manipulated variable to the pressure differential relay
B
the output at "B" is providing positive feedback of the manipulated variable to the force balance relay
C
suction of the transferred liquid occurs at "G" and discharge at "B"
D
suction of the transferred liquid occurs at "B" and discharge at "G"
Question 1 / 27070
5eccef9bbacbc34ba4d45557
Question 1 of 27070
5eccef9bbacbc34ba4d45557
The illustrated device is in operation when __________. See illustration GS-0061.
Show Hint
Show Illustration
Chat with Navigator AI
A
the output at "B" is providing negative feedback of the manipulated variable to the pressure differential relay
B
the output at "B" is providing positive feedback of the manipulated variable to the force balance relay
C
suction of the transferred liquid occurs at "G" and discharge at "B"
D
suction of the transferred liquid occurs at "B" and discharge at "G"
Discussion
(0)
Show More
Back
Back
Back
Question 1 of 27070
5eccef9bbacbc34ba4d45557
Q
The illustrated device is in operation when __________. See illustration GS-0061.
A
the output at "B" is providing negative feedback of the manipulated variable to the pressure differential relay
B
the output at "B" is providing positive feedback of the manipulated variable to the force balance relay
C
suction of the transferred liquid occurs at "G" and discharge at "B"
D
suction of the transferred liquid occurs at "B" and discharge at "G"
Back
Next
Discussion