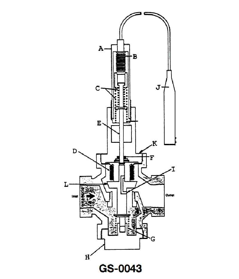
The illustrated control valve would be more suitable for __________. See illustration GS-0043.
steam flow control to the air ejectors
temperature control of a fluid being heated
temperature control of a fluid being cooled
steam flow to the turbine driving a pump
No comments yet
Be the first to share your thoughts!