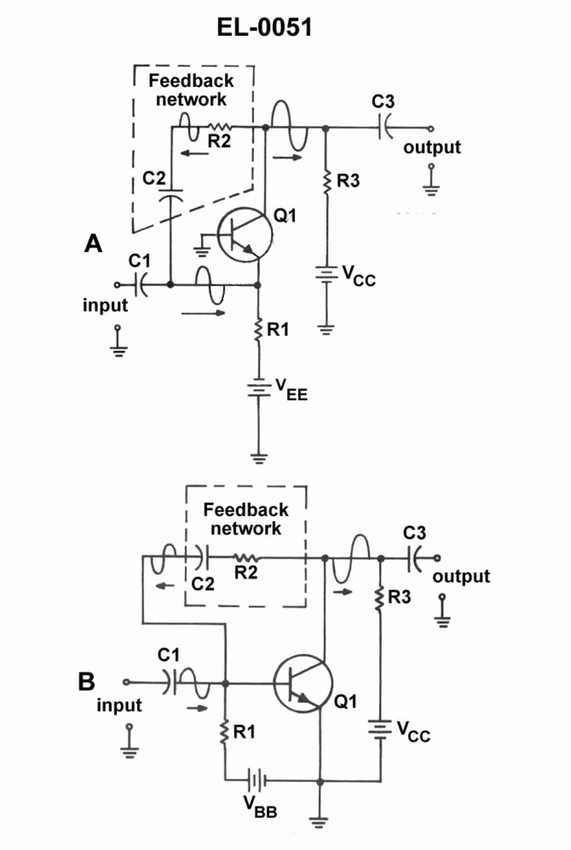
The amplifier as shown in figure "B" of the illustration has what type of feedback network? See illustration EL-0051.
• Positive vs negative feedback in amplifiers and what each one does to gain and stability • How regenerative and degenerative feedback relate to positive and negative feedback • Phase relationship between the input signal at the base and the feedback signal through C2–R2 in circuit B
• Trace the signal path from the output, through C2 and R2, back to the input in figure B. Does the feedback voltage tend to add to or subtract from the original input signal at the transistor base? • For a common‑emitter transistor amplifier like Q1, does the output at the collector invert (shift by 180°) relative to the base input? How does that affect whether the feedback is positive or negative? • If the feedback increases the overall gain and can lead to oscillation, is it called regenerative or degenerative? If it reduces gain and improves stability, what is it called?
• Check whether the feedback signal is in phase or out of phase with the base input signal in circuit B. • Verify which term matches gain-reducing, stabilizing feedback: regenerative or degenerative. • Match the correct pair: positive ↔ ? feedback name, negative ↔ ? feedback name, based on how they affect gain and stability.
No comments yet
Be the first to share your thoughts!