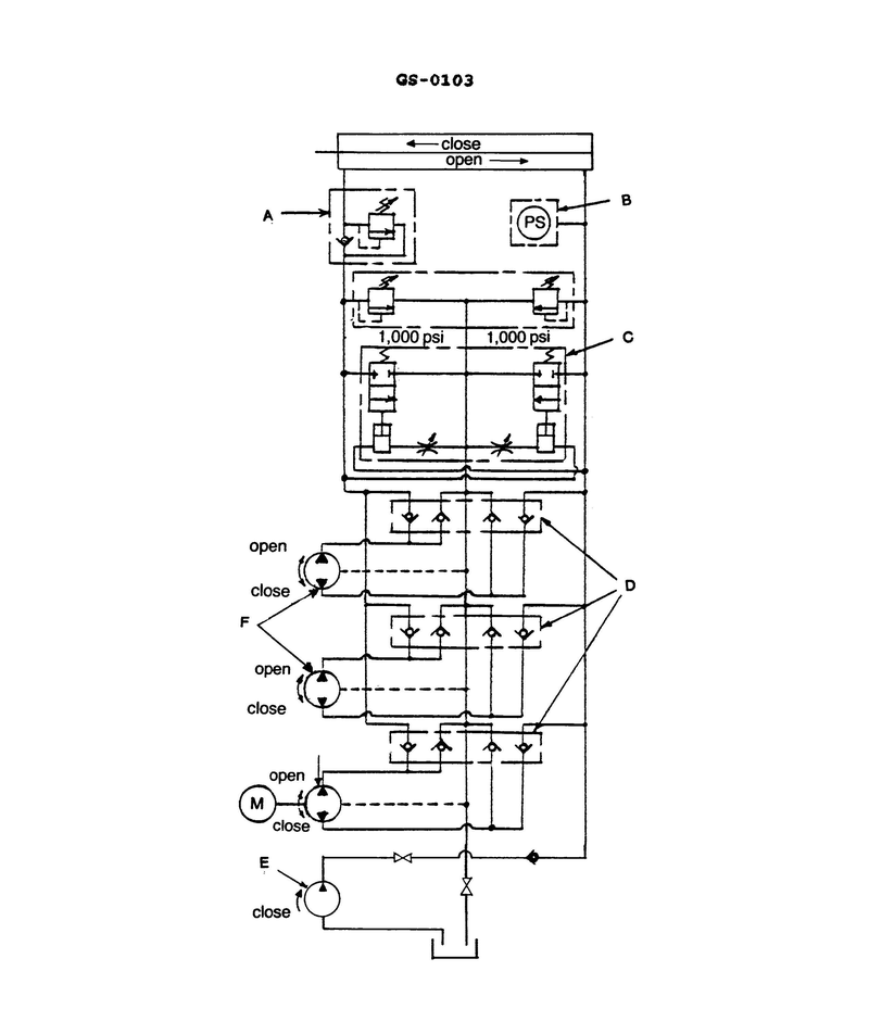
Item "F" shown in the illustration represents two hydraulic pumps that are __________. Illustration GS-0103
• Hydraulic watertight door systems normally have both power-operated and emergency/backup manual pumps • On this diagram, the symbol at M represents the main power unit; compare that symbol carefully with the two pumps at F • The location of backup pumps is usually arranged so the door can be operated from both sides of the watertight bulkhead if power fails
• Compare the graphic symbols for the pumps at F with the one at M and decide whether they show motor operation or hand operation • Look at where the lines from F go in relation to the door position and spaces labeled around the door; which physical spaces would need independent local pumps for emergency use? • Think about SOLAS/USCG requirements for watertight doors: in a power failure, from where must you still be able to open and close the door?
• Check whether the pumps at F have a motor symbol like the one at M, or a different symbol suggesting manual operation • Verify that the two pumps serve opposite sides of the same watertight door (engine room vs shaft alley, or corridor vs machinery space) • Confirm that your chosen option matches both the type of operation (motor vs manual) and a logical emergency location on each side of the door
No comments yet
Be the first to share your thoughts!