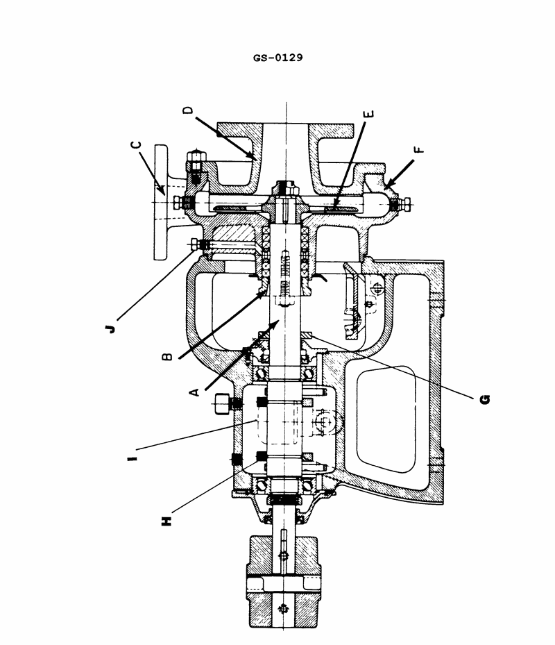
Item "B" in the pump illustration is the __________. Illustration GS-0129
• Stuffing box location in relation to the pump casing and where the packing sits • Shaft sleeve purpose of protecting the shaft under the packing and its typical shape • Difference between a packing gland (moving part that compresses packing) and the fixed box that holds the packing
• Look at where label B is pointing: is it to the hollow chamber, the rotating shaft surface, or the compressing collar? • Which component actually contains several rings of soft packing material and is stationary with the casing? • Which choice would normally surround the shaft just inside the packing gland follower?
• Verify whether B encloses a space where packing rings would sit – that would suggest a stuffing box • Check if B rotates with the shaft (more likely a shaft sleeve) or is bolted/formed as part of the casing (more likely a box or gland) • Confirm that the packing gland is usually a separate follower piece with studs or bolts that tighten it, not the chamber itself
No comments yet
Be the first to share your thoughts!