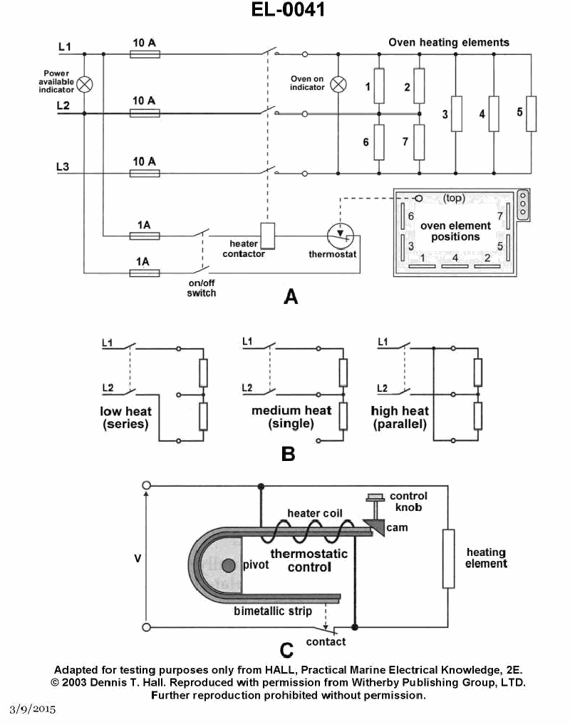
In the illustrated three phase galley oven circuit shown in figure "A", what would be the result of a 1 amp control fuse blowing? See illustration EL-0041.
A
only oven heating elements #1 and #2 would energize
B
only oven heating elements #6 and #7 would energize
C
only oven heating elements #3, #4, and #5 would energize
D
no oven heating elements would energize
Loading interactive features...
Question 1 / 205eccefa4bacbc34ba4d48530
Question 1 of 205eccefa4bacbc34ba4d48530
In the illustrated three phase galley oven circuit shown in figure "A", what would be the result of a 1 amp control fuse blowing? See illustration EL-0041.
In the illustrated three phase galley oven circuit shown in figure "A", what would be the result of a 1 amp control fuse blowing? See illustration EL-0041.