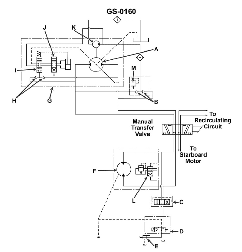
In the hydraulic anchor windlass system illustrated, the main pressure relief valve opens as the load increases its strain on the system. The probable cause is the __________. Illustration GS-0160
• Relationship between system pressure, load on the windlass motor, and operation of a main pressure relief valve in a hydraulic system • Function of the spring setting on a relief valve compared with the function of a control shuttle or pilot line routing • How a manual transfer valve position or check valves in a replenishing pump line would affect pressure versus simply affecting flow paths
• As the anchor load increases and the system strain rises, what specifically causes the main relief valve to open in any hydraulic circuit: is it flow direction or system pressure exceeding a set limit? • Which component in the illustration directly determines the pressure at which the relief valve will crack open, and which components only change which pump or circuit is connected? • If a valve simply routed flow to the wrong place, would that automatically cause the relief valve to open at lower loads, or would the relief valve open at whatever pressure its internal spring is adjusted to?
• Identify on the diagram which symbol and label corresponds to the relief valve and its spring adjustment (set point) • Decide which answer choice deals with pressure setting versus those that mainly change flow paths/valve positions • Ask whether the described symptom is that the relief opens too early for normal load, or that it fails to open at all — then match that behavior to the component that controls the opening pressure
No comments yet
Be the first to share your thoughts!