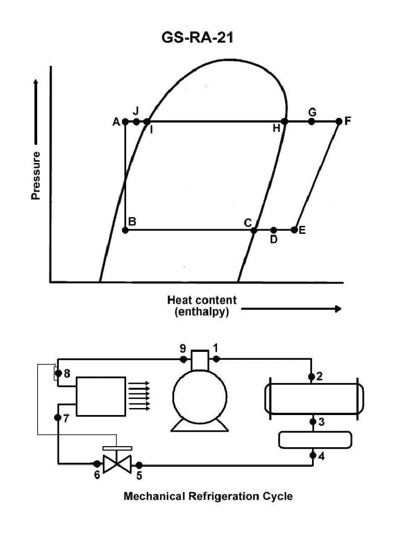
In consulting the refrigerant pressure-enthalpy and mechanical refrigeration system diagrams shown in the illustration, in the direction of refrigerant flow, what letters in the pressure-enthalpy diagram correspond to points 9 and 1 on the refrigeration cycle diagram? See illustration GS-RA-21.
In consulting the refrigerant pressure-enthalpy and mechanical refrigeration system diagrams shown in the illustration, in the direction of refrigerant flow, what letters in the pressure-enthalpy diagram correspond to points 9 and 1 on the refrigeration cycle diagram? See illustration GS-RA-21.
No comments yet
Be the first to share your thoughts!