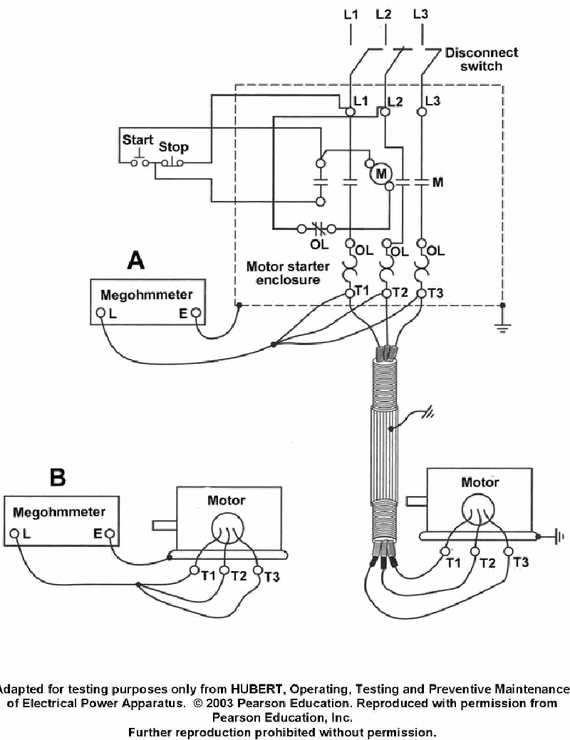
In conducting a megger test as shown in figure "A" of the illustration, a ground is detected. For testing purposes, how can the motor itself be eliminated or confirmed as the source of the ground? See illustration EL-0027.
A
Disconnect the motor feeder cable leads at the motor and perform the megger test again at the disconnected motor feeder cable leads.
B
Disconnect the motor feeder cable leads at the motor starter and perform the megger test again at the disconnected motor feeder cable leads.
C
Disconnect the motor feeder cable leads at both ends and perform the megger test again at either end of the motor feeder cable leads.
D
Disconnect the motor feeder cable leads from the motor itself and perform the megger test again as shown in figure "B".
Question 1 / 205eccefa4bacbc34ba4d483fa
Question 1 of 205eccefa4bacbc34ba4d483fa
In conducting a megger test as shown in figure "A" of the illustration, a ground is detected. For testing purposes, how can the motor itself be eliminated or confirmed as the source of the ground? See illustration EL-0027.
In conducting a megger test as shown in figure "A" of the illustration, a ground is detected. For testing purposes, how can the motor itself be eliminated or confirmed as the source of the ground? See illustration EL-0027.