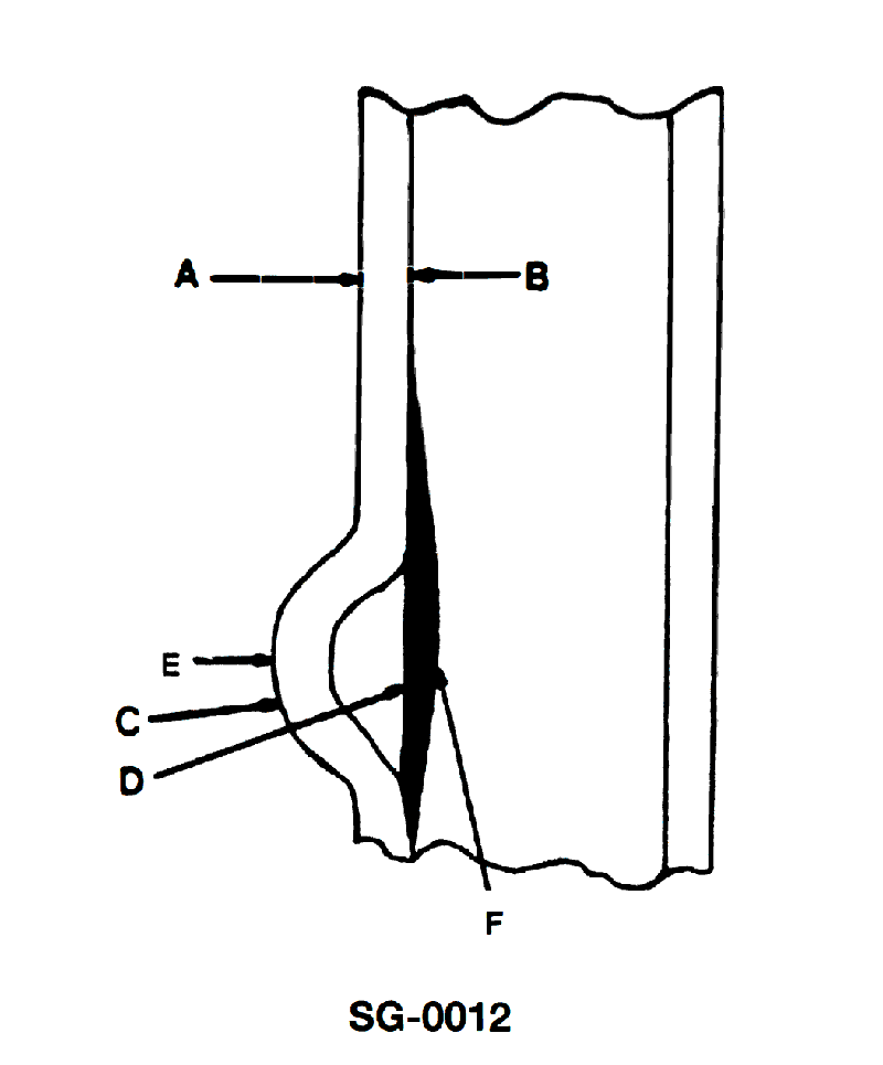
At which point of the blistered boiler tube shown in illustration will the temperature be the greatest? See illustration SG-0012.
• Blister formation on boiler tubes and what it tells you about metal thickness and heat transfer • How metal thickness and contact with water/steam affect tube metal temperature • Where the worst cooling occurs on a blister compared to the normal tube wall
• Look at points A, B, C, and D and decide which locations still have good contact with the water/steam inside the tube and which are partly separated by the blister gap. • Think about where the metal is thinnest and most exposed to the furnace heat, and where it has the least ability to conduct heat away to the water. • Ask yourself: on this sketch, which point lies in the area of the blister that is directly exposed to the hot gas side but is no longer well cooled by internal fluid?
• Identify which labeled point is on sound tube wall and which are on or near the bulged, weakened area of the tube. • Visualize the water/steam path inside the tube: where is cooling flow in good contact with the metal, and where is it partly cut off by the blister? • Confirm which point has minimum cross‑section of solid metal between the hot gas side and the inside of the tube, as that is where temperature will be highest.
No comments yet
Be the first to share your thoughts!