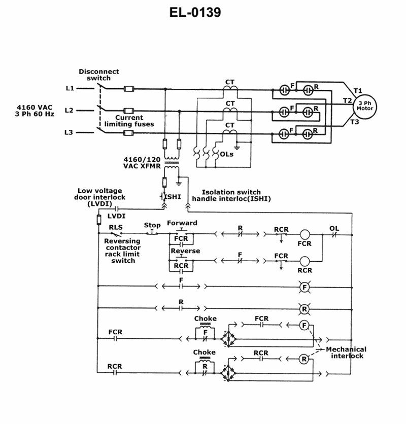
As shown in the illustration, which of the following would prevent simultaneously pulling in both the forward and reverse contactors (which if allowed to happen would insert a short directly across 4160 VAC line)? See illustration EL-0139.
A
opening of the isolation switch handle
B
opening of the low voltage door
C
failure to properly rack the reversing contactor
D
normal action of the reversing contactor mechanical interlocks
Loading interactive features...
Question 1 / 205eccefa4bacbc34ba4d48382
Question 1 of 205eccefa4bacbc34ba4d48382
As shown in the illustration, which of the following would prevent simultaneously pulling in both the forward and reverse contactors (which if allowed to happen would insert a short directly across 4160 VAC line)? See illustration EL-0139.
As shown in the illustration, which of the following would prevent simultaneously pulling in both the forward and reverse contactors (which if allowed to happen would insert a short directly across 4160 VAC line)? See illustration EL-0139.