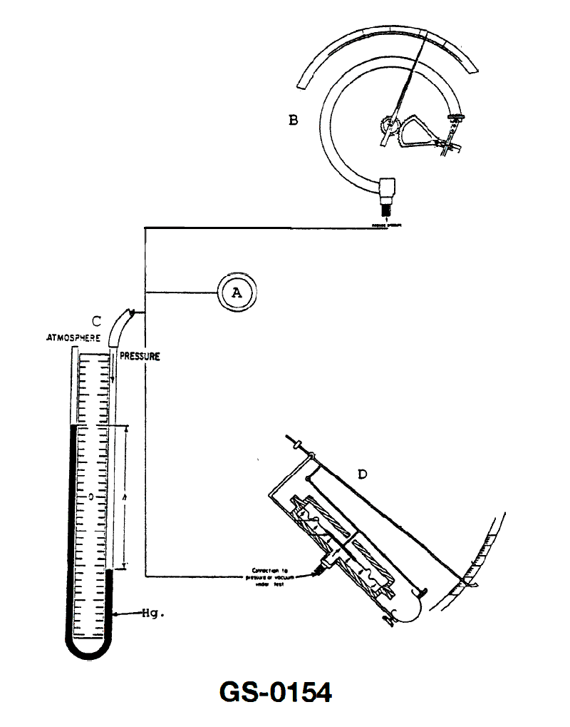
As shown in the illustration, the gage labeled "C" contains mercury and both devices "B" and "D" indicate 'zero' units when exposed to atmospheric pressure. If the pressure indicated on "A" is 16.2 psia, the corresponding readings of the gages "B", and "D", and the height "H" for device "C" should be __________. See illustration GS-0154.
As shown in the illustration, the gage labeled "C" contains mercury and both devices "B" and "D" indicate 'zero' units when exposed to atmospheric pressure. If the pressure indicated on "A" is 16.2 psia, the corresponding readings of the gages "B", and "D", and the height "H" for device "C" should be __________. See illustration GS-0154.
No comments yet
Be the first to share your thoughts!