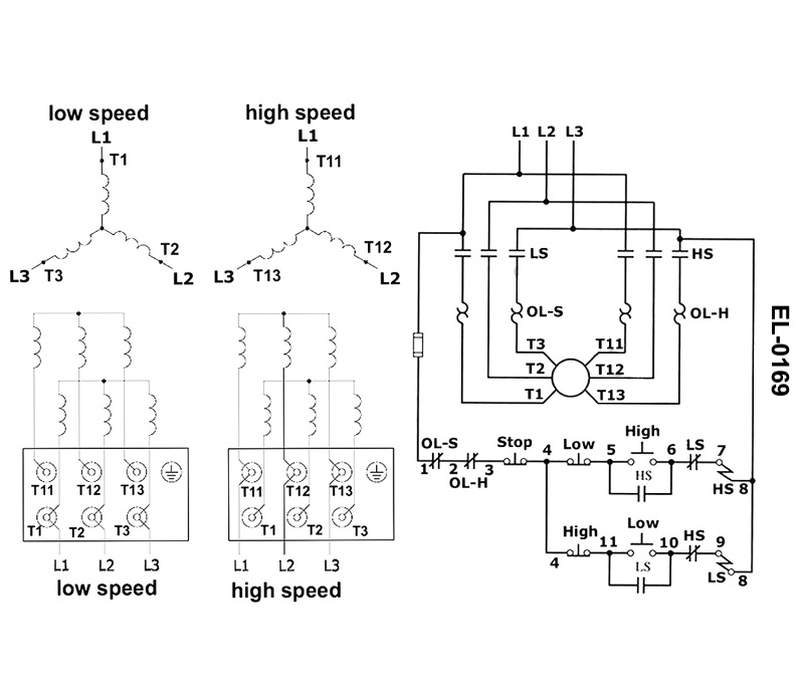
As shown in the illustrated two speed motor controller, what statement is true concerning the overload relays? See illustration EL-0169.
A
Both the low speed and high speed windings share common overload relay heaters and each of the overload relay contacts are both common to both the high and low speed contactor coils.
B
Each of the low speed and high speed windings are protected by its own separately sized overload heaters and the each of the overload relay contacts are common to both the high and low speed contactor coils.
C
The low speed and high speed windings share common overload relay heaters and each of the overload relay contacts is separately in series only with its respective contactor coil.
Question 1 / 205eccefa4bacbc34ba4d482c3
Question 1 of 205eccefa4bacbc34ba4d482c3
As shown in the illustrated two speed motor controller, what statement is true concerning the overload relays? See illustration EL-0169.
As shown in the illustrated two speed motor controller, what statement is true concerning the overload relays? See illustration EL-0169.
No comments yet
Be the first to share your thoughts!
D
Each of the low speed and high speed windings are protected by its own separately sized overload heaters and each of the overload relay contact is separately in series only with its respective contactor coil.