🔍 Key Concepts
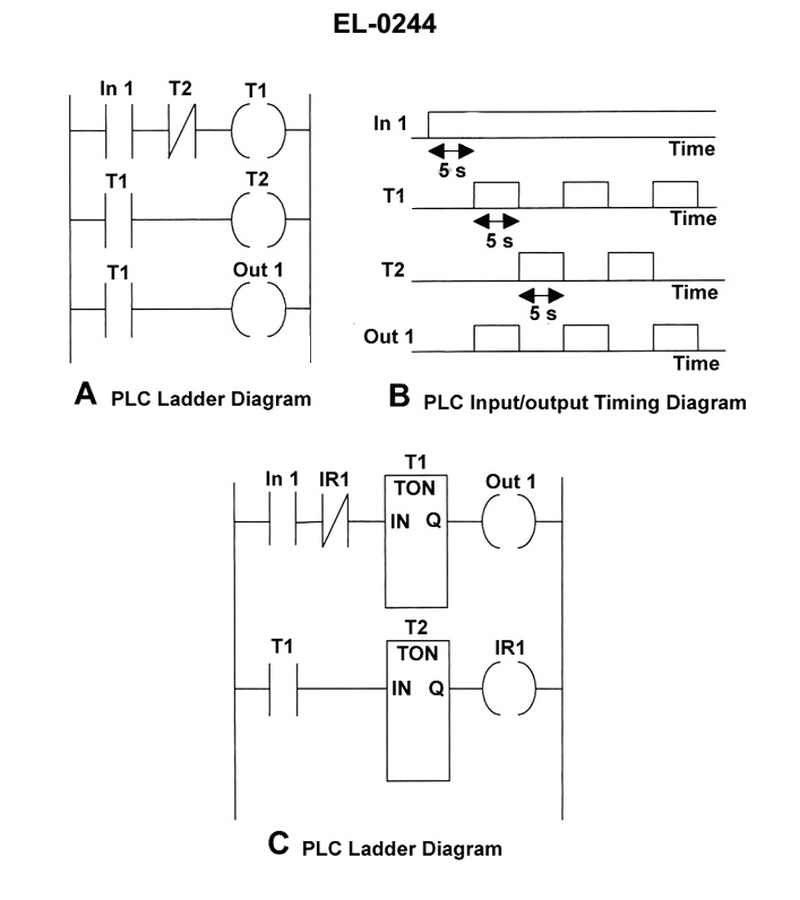
• On-delay timers (TON): output turns on only after the input has been true for the preset time, and turns off as soon as the input goes false.
• Normally open (NO) vs. normally closed (NC) contacts: in A, note which contacts are NC (with a slash) and how they change when their coil is energized.
• Internal relay / interlocking path: in C, see how IR1 and the timer outputs (Q) feed back to start and stop the other timer.
💭 Think About
• Starting at the instant In 1 first turns ON, trace ladder A step‑by‑step in time: which timer actually begins timing first, and what happens to its associated contacts and the other timer after 5 seconds?
• Do the same time‑based trace for ladder C: when T1 finishes its on‑delay, what turns on next, and how does IR1 affect the path to T1’s input?
• Compare, for each ladder, the order and duration of T1, T2, and Out 1 energizing with the pulses shown in timing diagram B. Which ladder’s sequence truly matches those 5‑second segments?
✅ Before You Answer
• Be sure which line in timing diagram B corresponds to timer inputs versus timer outputs; on‑delay timer outputs go high only after the delay has elapsed.
• Verify whether Out 1 in each ladder is driven directly by T1’s output, T2’s output, or a separate coil, and check if that matches Out 1’s waveform in B.
• Confirm for each ladder whether T1 and T2 can ever be ON at the same time; then check if timing diagram B ever shows T1 and T2 overlapping. This will eliminate at least one wrong choice.