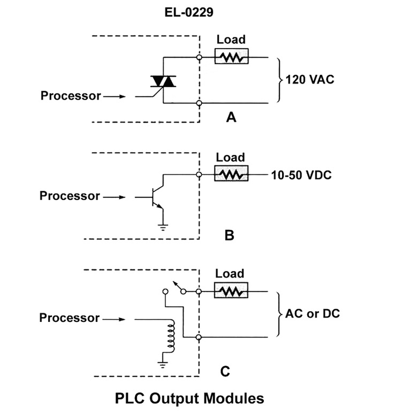
As shown in figure "C" of the illustrated PLC output unit, what switching technology is used to control the output load either being energized or de-energized as appropriate? See illustration EL-0229.
A
a solid-state relay
B
an electro-magnetic relay
C
a triac
D
a bipolar junction transistor
Loading interactive features...
Question 1 / 270705eccefa5bacbc34ba4d48857
Question 1 of 270705eccefa5bacbc34ba4d48857
As shown in figure "C" of the illustrated PLC output unit, what switching technology is used to control the output load either being energized or de-energized as appropriate? See illustration EL-0229.
As shown in figure "C" of the illustrated PLC output unit, what switching technology is used to control the output load either being energized or de-energized as appropriate? See illustration EL-0229.