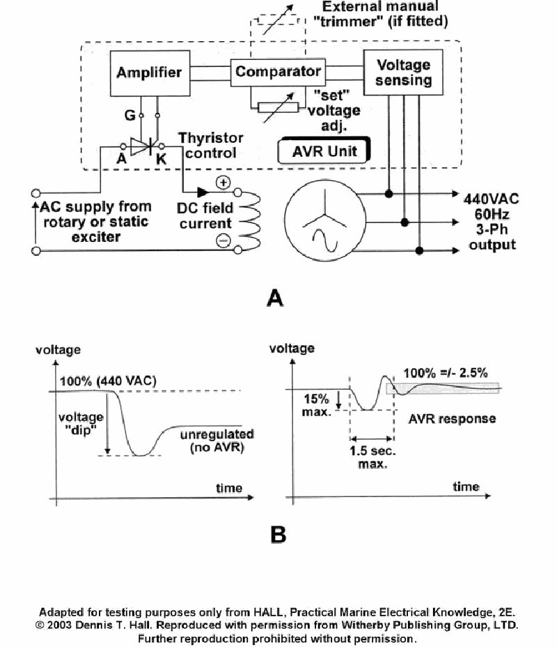
As shown in figure "A" of the illustration, what is the purpose of the thyristor control? See illustration EL-0066.
• Role of the AVR (Automatic Voltage Regulator) in controlling generator output voltage • How a thyristor / SCR (silicon-controlled rectifier) behaves compared with an ordinary diode • What the diagram in figure "A" shows about the path from AC exciter output to DC field current
• Look at the symbol drawn for the thyristor control: does it look more like a diode, a transistor, or a temperature sensor, and how many terminals does it have? • Trace the path from the AC supply from the exciter through the thyristor control to the DC field winding—what has to happen to that AC before it can feed a DC field? • Ask yourself whether main generator field windings are normally supplied with AC or DC, and whether their current needs to be varied smoothly for voltage regulation.
• Verify whether the field winding in the diagram is labeled DC field current or AC current. • Check if the thyristor symbol shows a gate (G) lead in addition to anode (A) and cathode (K), indicating controllable conduction rather than simple rectification. • Confirm that any temperature-sensing device (like a thermistor) would normally be shown physically attached to the field or labeled with temperature rather than placed directly in the power conversion path.
No comments yet
Be the first to share your thoughts!