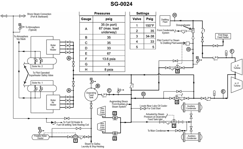
According to the illustrated diagram, what is the normal source of heat for the first stage feed heater and the distilling plants when the vessel is underway under full power? Illustration SG-0024
A
Dearating feed tank.
B
Main feed pump drive turbine exhaust.
C
Intermediate pressure bleed steam.
D
Low pressure bleed steam.
Loading interactive features...
Question 1 / 2066636ef128f7522a1c520eb9
Question 1 of 2066636ef128f7522a1c520eb9
According to the illustrated diagram, what is the normal source of heat for the first stage feed heater and the distilling plants when the vessel is underway under full power? Illustration SG-0024
According to the illustrated diagram, what is the normal source of heat for the first stage feed heater and the distilling plants when the vessel is underway under full power? Illustration SG-0024